Bras d'aspiration Original FX2 75

Bras d'extraction efficaces, silencieux et flexibles. Le FX2 original est un bras polyvalent, robuste et fiable, destiné à un usage général où le risque de décharge électrique ou d'exposition à des produits chimiques est minime.

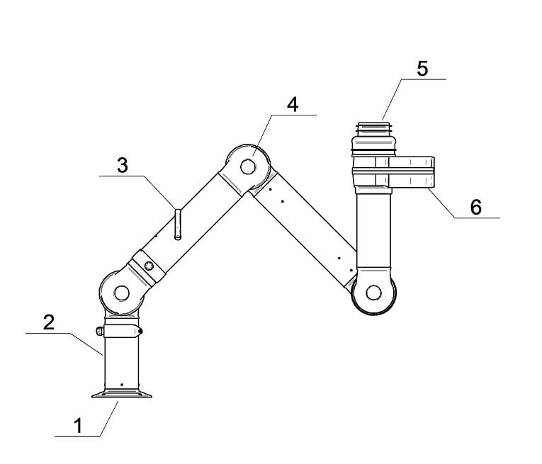
Les bras d'aspiration Nederman FX2 sont faits de profilés en aluminium anodisé léger, avec trois joints de friction en composite réglables. Offrant force et durabilité combinée à une manipulation facile, ces bras d'extraction peuvent être utilisés dans de nombreux types d’environnement. Ils sont particulièrement adaptés aux applications nécessitant des bras de petite taille, flexibles et faciles à utiliser. Le bras d'aspiration FX2 est polyvalent robuste et fiable pour des applications où il y a peu de risques de décharges électriques ou d’attaques par des produits chimiques agressifs.

  • Efficacité optimale et faible nuisance pour un environnement de travail sûr et silencieux
  • Flexibilité d'installation - Fixé au plafond, au mur, au sol ou sur plan de travail
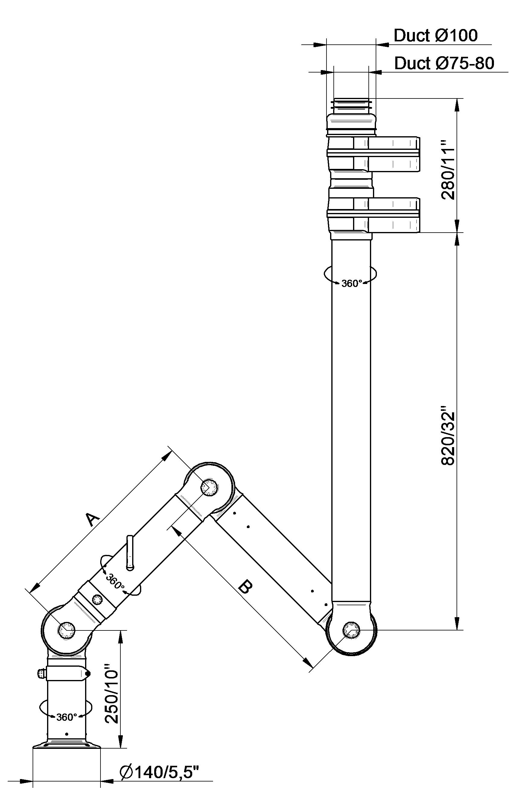
  • Maniabilité - Les deux articulations les plus extérieurs du bras d'aspiration peuvent pivoter jusque 360°
  • La conception permet aux bras d'aspiration de bien s’adapter dans n’importe quel environnement sans compromettre sa durabilité et sa fiabilité
  • Gains de temps, réduction des coûts, fiabilité pour une meilleure performance

Caractéristiques techniques
Certifications CE
Niveau sonore (dB(A)) 58 dB(A) at 240 m3/h
Installation Intérieur
Matériel Réalisé en profilés d’aluminium anodisé Joints en PP (polypropène) Raccords de tuyaux en EPDM (caoutchouc)
Température de la fumée max 158 °F (70 °C)
Diamètre du bras d'extraction (mm) 75
Débit (m³/h) 110-240
Type de catégorie Original
Couleur Aluminium et blanc

Accessoires pour ce produit 22

Extension FX-Cut2fit L2200
ArtNo: 70374600

Extension FX-Cut2fit L2200.

Hotte dôme FX d'origine D50/75/100
ArtNo: 70376982

Hotte dôme FX d'origine D50/75/100. Hotte dôme transparente en plastique PET-G, conçue pour capturer les contaminants à haute dispersion. Il peut être fixé directement sur une mini-hotte, indépendamment de la taille du bras. La conception ergonomique de la poignée de chaque côté de la hotte facilite sa manipulation.

Connecteur poussière FX2-ORIG/CHEM-D75
ArtNo: 70377038

Collecteur de poussière FX2-ORIG/CHEM-D75.

Kit support FX2 -D50/75/100-L500
ArtNo: 70377042

Kit support FX2 -D50/75/100-L500 Kit de montage complet avec support classique, 500 mm (19,68 inch) profilé d'extension et pièces associées, pour montage des bras FFX2 50/75/100 au plafond.

Kit SUPPORT mural FX2 -plat-L190-blanc
ArtNo: 70377043

Kit SUPPORT mural FX2 -plat-L190-blanc. Kit de montage complet avec support mural plat, 190 mm (7,48 inch) profilé d'extension et pièces associées pour le montage des bras FX2 50/75/100 avec 250 mm de la ligne centrale verticale du bras au mur.

Plaque de recouvrement plafond FX2 PLUS
ArtNo: 70377045

Plaque de recouvrement plafond FX2 PLUS,

Kit SUPPORT mural P FX2 -D50/75/100-L190
ArtNo: 70377046

Kit SUPPORT mural P FX2 -D50/75/100-L190. Kit de montage complet pour le montage des bras FX2 50/75/100 plus bras avec 250 mm (9,84") de la ligne centrale verticale du bras au mur.

Conduite FX2-Al -L1000-D75/100 à D100
ArtNo: 70377058

Conduite FX2-Al -L1000-D75/100 à D100

Conduite FX2-Al -L2000-D75/100 à D100
ArtNo: 70377059

Conduite FX2-Al -L2000-D75/100 à D100

FX2-Hose support ring-D75
ArtNo: 70377067

FX2-Hose support ring-D75. Place into the 75 mm (3 inch) hose to support the connection between the hose and the duct connector of the arm.

FX2-Hose support ring-D100
ArtNo: 70377068

FX2-Hose support ring-D100

Tuyau FX-D75-L3000-gris
ArtNo: 70377098

Tuyau FX-D75-L3000-gris Tuyau flexible en PVC gris, diamètre 75 mm (3") et longueur 3 000 mm (118,11"). Il est utilisé avec l'anneau-support pour relier le tuyau au bras.

Tuyau FX-D100-L3000-gris
ArtNo: 70377099

Tuyau FX-D100-L3000-gris

FX2-Cover small
ArtNo: 70377452

FX2-Cover small

Hotte combinée FX-ORIGINAL-D50/75/100
ArtNo: 70500144

Hotte combinée FX-ORIGINAL-D50/75/100.

Hotte métallique FX-ORIG/CHEM-D50/75/100
ArtNo: 70500444

Hotte métallique FX-ORIG/CHEM-D50/75/100. Hotte recouverte de poudre métallique blanche, en aluminium, conçue pour capturer les contaminants à haute température, les fumées agressives lorsqu'une résistance à la corrosion doit être garantie ou les projections de poussière. Il peut être fixé directement sur une mini-hotte, indépendamment de la taille du bras.

Support FX ensemble-D50/75/100-L190
ArtNo: 70501144

Support FX ensemble-D50/75/100-L190

Support FX classique -D50/75/100
ArtNo: 70501244

Support FX classique -D50/75/100

Extension FX-Cut2fit L1100.
ArtNo: 70501344

Extension FX-Cut2fit L1100

Kit Support de banc FX2 -D50/75/100
ArtNo: 70501444

Kit Support de banc FX2 -D50/75/100

Plaque de recouvrement plafond FX
ArtNo: 70502644

Plaque de recouvrement plafond FX

Bride FX hotte d'origine D50/75/100
ArtNo: 70502844

Bride FX hotte d'origine D50/75/100