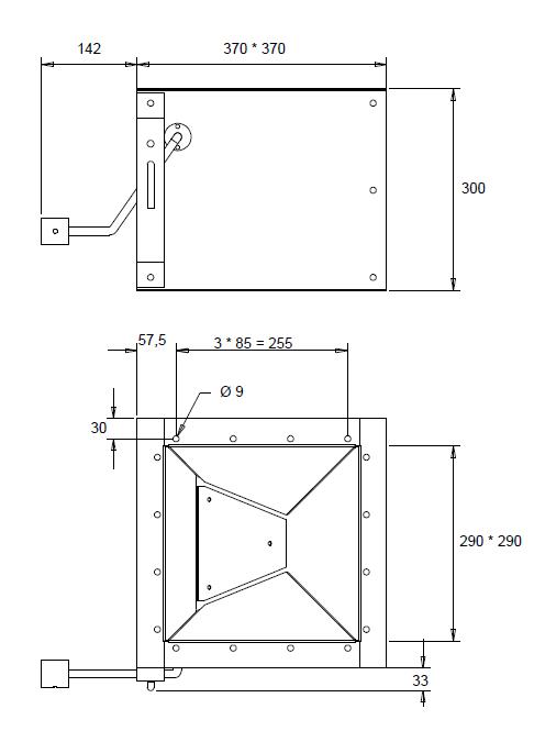
Damper type NFUS3

The damper type NFUS3 is used for emptying of material from the FM filters

The damper type NFUS3 is used for emptying of material from the FM filters.
The damper can be used as a manual damper. Thedamper plate can be locked in the closed position, e.g. in cases where the dust bin must be emptied during operation.
Afterwards the damper can be opened and locked in the open position.
The damper can also be used as a flap valve. Here the material is automatically emptied into a
container in connection with stop. This solution can be used in connection with non-adhesive, easyflowing and heavy material types.

Description
The damper type NFUS3 is made of galvanized steel plate.
The rubber sheet gasket is fastened on the damper plate by a steel plate.
The damper opening is greater than 70 x 100 mm.

Specification
The damper is as standard delivered with counter balance as well as pin for locking the plate in the outer positions. Only one of these alternatives can be used at a time..

Caractéristiques techniques
Ambient temperature range Max 75 C (167 F)
Poids (kg) 14
    Damper type NFUS3

    ArtNo: 5501395